2025-11-05
2025-11-05
2025-11-05
了解一下,冷凍雞翅進口報關流程是這樣的;冷凍雞翅進口報關流程|進口冷凍雞翅尖報關代理|雞翅中進口代理報關行|冷凍雞翅根進口清關公司。
臻力供應鏈是一家為企業提供專業的“全球進口一條龍服務”的物流供應鏈服務公司。從2004年公司成立起,經過15年的發展,目前在擁有10家公司,覆蓋沿海國內的主要口岸,從華北的大連港一直延伸到華南的深圳港。
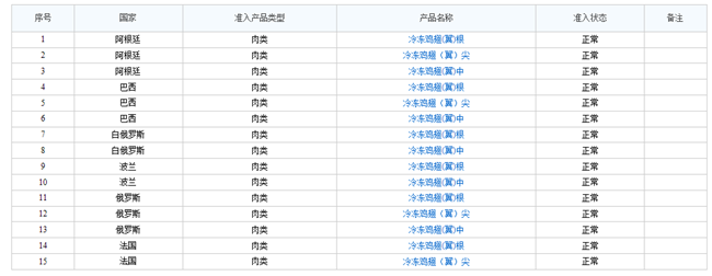
冷凍雞翅允許進口的國家有:阿根廷、巴西、白俄羅斯、波蘭、俄羅斯、法國、泰國、智利,其中最常進口的是“阿根廷、巴西、俄羅斯、智利”。(如需了解冷凍雞肉、雞爪等進口準許國家,您可以提供貨物的海關編碼給我們幫您查詢)。


冷凍雞翅進口報關
作為全球的雞肉消費大國,禽肉類進口逐年上升,那么禽肉類進口商如何從國外進口,需要哪些資質才能進口,進口報關流程是怎樣的?以下是冷凍雞翅進口報關流程,希望能幫到您!

冷凍雞翅進口報關
冷凍禽肉類進口報關,國內進口商的企業資質要求:
(1)進出口經營權;
(2)肉類的經營范圍及肉類資質;
(3)進口食品進出口商備案企業備案(進口辦理);
(4)海關企業年報申報、海關無紙化簽約、電子委托申報簽約(進口辦理)
冷凍雞翅進口報關流程:
簽訂合同--食品中文標簽審核--備貨 --準備冷凍雞翅進口報關單證--發貨到港口--換單--報檢--報關--交稅--貼標簽 -- 申請商檢查驗---貨物放行
關于冷凍雞爪進口報關:
優質凍雞爪主要以巴西、阿根廷、智利、澳大利亞為主,品質好,個頭比較大。隨著中智、中澳自貿協定實 施,進口冷凍肉類關稅逐步下調,進口成本更低。冷凍雞翅進口報關專業代理肉類食品一般貿易進口報關,為企業提供各種冷凍肉類產品進口代理服務,冷凍牛肉、冷凍羊肉冷凍雞腳、冷凍雞爪、冷凍雞翅、冷凍雞腿等,我司在肉類凍柜進口清關方面擁多年進口報關經驗,凍品進口報關流程非常熟悉,歡迎咨詢我們!
冷凍雞翅等凍品進口報關有些單證我司可以代辦,咨詢了解方式:點擊我司網站網頁右下角的咨詢框【在線咨詢】;或者撥打我司全國免費咨詢電話(注:如是下班時間,可給我們留言,我們的客服小姐姐會在看到的第一時間給您致電!上班時間:8:45-18:00)
注明:本文圖片來源于網絡,如有侵權請聯系我們刪除。
想要了解昆明食品進口報關價格以及美國巴旦木進口具體流程和費用嗎?臻力作為專業進口代理公司,提供全方位解決方案。下面我們為客戶詳細介紹昆明食品進口報關價格以及美國巴旦木進口相關細節。專業進口報關19年,
2025-10-31
想要順利進口食品,報關是一個不可忽視的環節。作為西寧食品進口報關廠家,臻力致力于為客戶提供專業的報關服務。本文將介紹臻力優勢以及在食品進口報關中的要點和細節,幫助客戶了解臻力專業能力和服務質量。專業進
2025-10-31
根據海關發布的輸華食品準入目錄,準入烏梢蛇的國家只有印度尼西亞,那么,你知道一般貿易進口動物源性藥材清關要多久時間?我司臻力進口報關公司,有18年藥材進口報關操作經驗及案例,按需定制中藥材進口清關方案
2025-10-31
臻力上海消毒液進口報關有18年進口報關經驗,可提供上海消毒液進口報關流程及國際貨運代理一站式門到門服務,有做過消毒液進口通關案例,可代理防護口罩、消毒液、洗手液、橡膠手套、額溫槍等防疫化學物質進口報關
2025-10-31
2022年,國內對一次性口罩需求還是很大,特別是熔噴無紡布更為緊缺,聽海外采購商反映:國外工廠如迪拜、沙特、印度等廠商有華人代表駐扎在工廠現場,材料一生產出來就當場結算提貨,臻力進口報關公司,可提供熔
2025-10-31
新西蘭是世界著名的奶制品生產國,其牛奶品質一直備受贊譽。近年來,隨著國內消費者對高品質、安全食品的需求增加,新西蘭食品進口報關逐漸成為熱門話題。下面臻力將介紹新西蘭食品進口報關的流程和注意事項,并針對
2025-10-31
您是否對保定進口食品報關流程感到困惑?您是否想了解如何順利進口伊朗椰棗?不用擔心!臻力將為客戶詳細介紹保定進口食品報關的要點和流程,并為客戶提供臻力公司的專業服務,幫助成功通關。專業進口報關19年,全
2025-10-31
江蘇食品進口報關流程對于伊朗開心果進口來說至關重要。作為臻力公司客戶,了解這一流程將幫助您順利進口伊朗開心果,并確保遵守相關法規和規定。臻力將詳細介紹江蘇食品進口報關流程,并提供關鍵細節,以幫助順利進
2025-10-31

注明:本網站圖片來源于網絡,如有侵權請聯系我們刪除。